2013 Nissan Altima Ac Compressor Relay Location

A C Relay Location Can I Get The Location Of A C Relay Please

A C Relay Location Can I Get The Location Of A C Relay Please

Ac Not Working Nissan Forum Nissan Forums

Ac Not Working Nissan Forum Nissan Forums

A C Relay Location Needed Looking For The Location Of The A C

A C Relay Location Needed Looking For The Location Of The A C

Nissan Altima 2010 Underhood Fuses Fuel Pump Ac Compressor Youtube

Nissan Altima 2010 Underhood Fuses Fuel Pump Ac Compressor Youtube

Solved I Have A 2006 Nissan Altima And My Air Conditioner Has Stopped Fixya

Solved I Have A 2006 Nissan Altima And My Air Conditioner Has Stopped Fixya

Ridgeline Ac Fuse Diagram Hd Quality Booch Ood Twirlinglucca It

Ridgeline Ac Fuse Diagram Hd Quality Booch Ood Twirlinglucca It

Ridgeline Ac Fuse Diagram Hd Quality Booch Ood Twirlinglucca It

I have done some preliminary diagnosis on it and could use some advice.

2013 nissan altima ac compressor relay location.

2007 nissan altima ac problem. I ve had the compressor condenser cycling switch o rings and the low pressure suction line all changed out. Hello i m trying to help out a coworker with her car a 2008 nissan rogue with approximately 130k miles. 2013 2014 2015 2016 2017 2018.

Uac s line of electrical components includes the switches and relays that are necessary for the proper function of an a c system. Checked all fuses o k. Rb the mechanic assumes no. But my clutch does not engage.

And of course my a c is out. The guys at the shop are bummed out and clueless to what it could be. On some cars they have it as a blower motor relay but is goes to the compressor that why it s so hard to find. Nissan altima 2013 2018 fuse box diagram.

I brought the car nissan quest 2013 to my mechanic who verified if there was sufficient refrigerant in the system. Due to factors beyond the control of rb the mechanic it cannot guarantee against unauthorized modifications of this information. Check out the diagrams below. That also has to be powered up to get the compressor to turn on digging into it now even though one isn t shown.

I own a 2013 nissan altima s i live in texas and it s always hot. I ve spent to much money on this and can t afford the dealer fee. Nissan altima 2013 hvac pressure transducer by uac. Passenger compartment fuse box nissan altima fuse box.

I understand it is supposed to engage and disengage 5 times. Light on ac dial lights up under r s. The compressor clutch is not engaging no matter how long i watch it on a 70 degree day with ac set to max. I m assuming this car has a 2nd.

I performed the ipdm auto active test but did not hear the clutch. Where is the ac compressor relay located on a nissan altima. She said the ac was blowing hot with the ac set to max. Diagram shows 2 accessories but only 1 ignition.

I am looking for the location of the breaker.

2013 Altima Fuse Box Youtube

2013 Altima Fuse Box Youtube

Nissan Altima 2013 2018 Fuse Box Diagram Auto Genius

Nissan Altima 2013 2018 Fuse Box Diagram Auto Genius

Nissan Altima Relay Box Diagram Diagram Base Website Box Diagram Fishbonediagram Itaseinaudi It

Nissan Altima Relay Box Diagram Diagram Base Website Box Diagram Fishbonediagram Itaseinaudi It

2012 Armada Fuse Diagram Hd Quality Arrow Diagram Twirlinglucca It

2012 Armada Fuse Diagram Hd Quality Arrow Diagram Twirlinglucca It

Where Is The Ac Compressor Relay Located On 2012 Nissan Altima

Where Is The Ac Compressor Relay Located On 2012 Nissan Altima

2013 Nissan Altima Sedan Relay Nissan Parts Deal

2013 Nissan Altima Sedan Relay Nissan Parts Deal

Nissan Rogue Ac Fuse Location Hidden Fuses Youtube

Nissan Rogue Ac Fuse Location Hidden Fuses Youtube

2011 Max Ac Compressor Clutch Relay Location Maxima Forums

2011 Max Ac Compressor Clutch Relay Location Maxima Forums

Hw 5969 Nissan Altima 2003 Fuse Box Wiring Diagram

Hw 5969 Nissan Altima 2003 Fuse Box Wiring Diagram

Blown Fuse Check 2013 2018 Nissan Altima 2014 Nissan Altima S 2 5l 4 Cyl

Blown Fuse Check 2013 2018 Nissan Altima 2014 Nissan Altima S 2 5l 4 Cyl

Signs Of A Bad Or Failing Ac Compressor Relay Yourmechanic Advice

Signs Of A Bad Or Failing Ac Compressor Relay Yourmechanic Advice

Nissan Rogue Questions Where Is The Fuse For The Horn Cargurus

Nissan Rogue Questions Where Is The Fuse For The Horn Cargurus

Ac Compressor Clutch Not Engaging The Car Has A Cvt Transmission

Ac Compressor Clutch Not Engaging The Car Has A Cvt Transmission

2004 Nissan Altima Fuse Diagram Diagram Base Website Fuse Diagram Diagrambrain Edocentrico It

2004 Nissan Altima Fuse Diagram Diagram Base Website Fuse Diagram Diagrambrain Edocentrico It

Fuse Box Location And Diagrams Nissan Altima L33 2013 2018 Youtube

Fuse Box Location And Diagrams Nissan Altima L33 2013 2018 Youtube

Nissan Sentra Ac Fuel Pump Fuse Location Hidden Fuses Youtube

Nissan Sentra Ac Fuel Pump Fuse Location Hidden Fuses Youtube

Ac Compressor Clutch Repair Replacement Nissan Altima Diy Part 1 Youtube

Ac Compressor Clutch Repair Replacement Nissan Altima Diy Part 1 Youtube

Driver Side Vents Not Cold The Nissan Club

Driver Side Vents Not Cold The Nissan Club

Https Encrypted Tbn0 Gstatic Com Images Q Tbn 3aand9gcql Pqmeia6w1kb 3z8aynuinxlrq6lkt1x79nigkzt8laiylf Usqp Cau

Https Encrypted Tbn0 Gstatic Com Images Q Tbn 3aand9gcql Pqmeia6w1kb 3z8aynuinxlrq6lkt1x79nigkzt8laiylf Usqp Cau

I Am Looking For The Location Of The Ac Compressor Regulator For A 2008 Nissan Altima I Checked The Fuse Block Under The

I Am Looking For The Location Of The Ac Compressor Regulator For A 2008 Nissan Altima I Checked The Fuse Block Under The

How To Replace An Air Conditioning Compressor Relay Yourmechanic Advice

How To Replace An Air Conditioning Compressor Relay Yourmechanic Advice

2004 Nissan Maxima Ac Dont Work Quick Fix Bad Ac Fuse Youtube

2004 Nissan Maxima Ac Dont Work Quick Fix Bad Ac Fuse Youtube

Nissan Sentra Relay Identitication And Location Youtube

Nissan Sentra Relay Identitication And Location Youtube

2008 2013 Nissan Rogue 2 5l A C Compressor Dryer Replacement Youtube

2008 2013 Nissan Rogue 2 5l A C Compressor Dryer Replacement Youtube

Nissan Sentra 2007 2012 Fuse Box Diagram Auto Genius

Nissan Sentra 2007 2012 Fuse Box Diagram Auto Genius

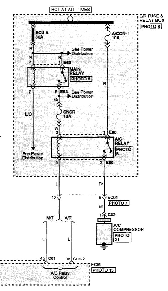
Wiring Diagram Ac Compressor Nissan

Wiring Diagram Ac Compressor Nissan

Interior Fuse Box Location 2013 2018 Nissan Altima 2014 Nissan Altima S 2 5l 4 Cyl

Interior Fuse Box Location 2013 2018 Nissan Altima 2014 Nissan Altima S 2 5l 4 Cyl

2002 Nissan Altima Starter Location

2002 Nissan Altima Starter Location

Nissan Juke 2011 2017 Fuse Box Diagram Auto Genius

Nissan Juke 2011 2017 Fuse Box Diagram Auto Genius

How To Add Refrigerant To A 2013 2018 Nissan Altima 2013 Nissan Altima S 2 5l 4 Cyl Sedan

How To Add Refrigerant To A 2013 2018 Nissan Altima 2013 Nissan Altima S 2 5l 4 Cyl Sedan

Fuse Box Location And Diagrams Nissan Altima L31 2002 2006 Youtube

Fuse Box Location And Diagrams Nissan Altima L31 2002 2006 Youtube

Fuse Box Diagram Nissan Altima L33 2013 2018

Fuse Box Diagram Nissan Altima L33 2013 2018

2009 Nissan Altima Starter Relay Location Youtube

2009 Nissan Altima Starter Relay Location Youtube

Ade71 Diagram Opener Door Wiring Modelnumber2110 Wiring Library

Ade71 Diagram Opener Door Wiring Modelnumber2110 Wiring Library

2007 Kia Sportage A Cpressor Wiring Diagram Diagram Base Website Wiring Diagram Avenndiagram Comunedimaro It

2007 Kia Sportage A Cpressor Wiring Diagram Diagram Base Website Wiring Diagram Avenndiagram Comunedimaro It

How To Fix The A C Compressor On A 2013 Nissan Altima 40 Degrees Youtube

How To Fix The A C Compressor On A 2013 Nissan Altima 40 Degrees Youtube

2015 Nissan Pathfinder Blower Motor Fuse Locations Youtube

2015 Nissan Pathfinder Blower Motor Fuse Locations Youtube

Nissan Altima Parts Aftermarket Nissan Altima Body Parts

Nissan Altima Parts Aftermarket Nissan Altima Body Parts

Acura Tl 2013 2014 Fuse Box Diagram Auto Genius

Acura Tl 2013 2014 Fuse Box Diagram Auto Genius

2009 Nissan Altima Ac Fuse Blower Motor Fuse Location Youtube

2009 Nissan Altima Ac Fuse Blower Motor Fuse Location Youtube

Fuse Box Diagram Nissan Altima L32 2007 2013

Fuse Box Diagram Nissan Altima L32 2007 2013

Symptoms Of A Bad Or Failing Fuel Pump Relay Autoblog

Symptoms Of A Bad Or Failing Fuel Pump Relay Autoblog

2014 Nissan Sentra Ac Fuse Blower Motor Fuse Location Youtube

2014 Nissan Sentra Ac Fuse Blower Motor Fuse Location Youtube

Https Encrypted Tbn0 Gstatic Com Images Q Tbn 3aand9gcql Pqmeia6w1kb 3z8aynuinxlrq6lkt1x79nigkzt8laiylf Usqp Cau

Https Encrypted Tbn0 Gstatic Com Images Q Tbn 3aand9gcql Pqmeia6w1kb 3z8aynuinxlrq6lkt1x79nigkzt8laiylf Usqp Cau

Source : pinterest.com